1.自助具を制作する意味0片麻痺の方が既存のトイレで簡単に、無駄なくトイレットペーパーを使用できるようにする既存のもの・介護用の別売トイレペーパー・新しくトイレットペーパーホルダーを設置・滑り止めを張り付けて簡単にカットできるもの→設置してあるトイレットペーパーホルダーを活用しない=一部の環境を改善するに留まる→余分にトイレットペーパーをとるAdd Annotation Order
2.片麻痺の方がトイレットペーパーを使用する際の困難0・片手でトイレットペーパーを巻くと余分に取ることに・抑えながら巻けない・トイレットペーパーを切るときに固定できないAdd Annotation Order
3.解決策・アイデアスケッチ0・自助具を使用して、簡単に紙を無駄にせず巻けるようにする・片手でも簡単にトイレットペーパーを巻き、切れるようにする・横のレバーを回すことで紙を巻いたらどうかタイプ1 トイレットペーパーを挟んでレバー方式で巻く0・紙を自助具の真ん中に設置して、スライド部分で挟む。・自助具を握り、手首を回すことでトイレットペーパーを巻く。(トイレットペーパーを挟んだままにしておく)・トイレットペーパーの蓋の上に自助具を設置し、手で切る。タイプ2 トイレットペーパーを巻き付る0・装置にトイレットペーパーを巻き付けて、横のレバーで回す・適切な長さまで巻きとったら、蓋の上を抑えて紙を切るAdd Annotation Order
タイプ1 トイレットペーパーを挟んでレバー方式で巻く0・紙を自助具の真ん中に設置して、スライド部分で挟む。・自助具を握り、手首を回すことでトイレットペーパーを巻く。(トイレットペーパーを挟んだままにしておく)・トイレットペーパーの蓋の上に自助具を設置し、手で切る。
4.アイデアスケッチを踏まえた意見交換と追加情報0・トイレットペーパーをどのように取り出すのか→どこかにローラーをつける・トイレットペーパーをどのように切るのか→自助具を持った手で蓋を押さえられる状態にする→既存の蓋ではなく、カッターとなるパーツをつける・自助具をどのように取り付けるか→①既存の蓋を持ち上げる ②既存の蓋とトイレットペーパーの間に固定する・すべてのトイレで活用→持ち運びができる→普段使用するトイレで基本使用する想定→分解できるAdd Annotation Order
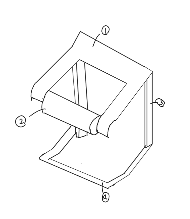
5.アイデアのブラッシュアップとプロトタイプ作成準備0タイプ1型0・自助具は赤いパーツと黄色いパーツの二種類のパーツ・黄色のパーツを動かしてトイレットペーパーを挟む・自助具を回してトイレットペーパーを巻く・自助具をもったまま蓋を抑えてトイレットペーパーを切る・持ち運ぶときは赤いパーツの下の空洞部分に黄色い方のパーツを収納<問題点>・巻くのに時間がかかりすぎる・自助具をもったままだと切りにくい・切り取ったトイレットペーパーを自助具から取り外せないタイプ2型0・突起部分で既存の蓋を上げて、トイレットペーパーの上にセット・ローラーを転がしてトイレットペーパーを取り出す・ギザギザ部分でトイレットペーパーを切る<問題点>・固定が不十分・3Dプリンタでアーチやギザギザを作れないプロトタイプの最終評価_タイプ2型の方向性で決定0<改善点>・蓋・ローラー・カッターのパーツを分ける・蓋のアーチは一部分に限定・安定性強化のためにトイレットペーパーの奥に差し込む突起を追加・ローラーは円柱型のものを作成した後に滑り止めを巻く・カッターはホルダーの下に追加し、引っ張ってとれる仕様にAdd Annotation Order
タイプ1型0・自助具は赤いパーツと黄色いパーツの二種類のパーツ・黄色のパーツを動かしてトイレットペーパーを挟む・自助具を回してトイレットペーパーを巻く・自助具をもったまま蓋を抑えてトイレットペーパーを切る・持ち運ぶときは赤いパーツの下の空洞部分に黄色い方のパーツを収納<問題点>・巻くのに時間がかかりすぎる・自助具をもったままだと切りにくい・切り取ったトイレットペーパーを自助具から取り外せない
タイプ2型0・突起部分で既存の蓋を上げて、トイレットペーパーの上にセット・ローラーを転がしてトイレットペーパーを取り出す・ギザギザ部分でトイレットペーパーを切る<問題点>・固定が不十分・3Dプリンタでアーチやギザギザを作れない
プロトタイプの最終評価_タイプ2型の方向性で決定0<改善点>・蓋・ローラー・カッターのパーツを分ける・蓋のアーチは一部分に限定・安定性強化のためにトイレットペーパーの奥に差し込む突起を追加・ローラーは円柱型のものを作成した後に滑り止めを巻く・カッターはホルダーの下に追加し、引っ張ってとれる仕様に
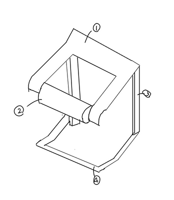
6.どのように作成したか0最初はトイレットペーパーを片手でもきれいに巻く方法を考えていた。しかし、きれいに巻くことよりもいかにトイレットペーパーを早く取り出せるかが重要だと考え、アイディアを変更した。既存の自助具であるコロベークンを元により使いやすくなるよう改良した。大まかなイメージ0まずは大まかなイメージを作成した。①蓋:既存のふたを持ち上げる②ローラー:ローラーを回すことでトイレットペーパーをまく③カッターを支える支柱④カッター:トイレットペーパーを切るテスト印刷0パーツを組み合わせる部分(丸型)を3Dプリンターで作ると誤差が生まれてうまくはまらなかった。カッター部分は切る方向で力を加えると折れそうなくらいに歪みが生じた。蓋の印刷はカーブ部分に亀裂が入っており力を入れると折れてしまった。印刷する際の注意点①0 蓋について 最初は縦長に印刷していた。だが、カーブの部分で亀裂が入ってツリーを取り外す際に折れてしまったり、突起部分がうまく印刷されなかった。そのため、横長に向きを変え、床への接地面を広くし安定性を持たせて印刷した。また、サポートをツリーではなく標準のサポートに変更し、最初よりも厚みを持たせて印刷した。結果、カーブの部分に亀裂が入ることなく、標準のサポートをうまく取り外すことができた。印刷する際の注意点②0カッターの支柱についてカッターを支える支柱とカッターを組み合わせるために凹凸を作成したが、プリンターで印刷する際に穴の大きさに誤差が生まれ外れやすかった。そのため、穴の大きさを微調整し、さらにカッターを落ちにくくするために支柱をL字型に変更して印刷した。微調整0 カッターのパーツについて 使用する際は上下の圧力がかかるため、上下に耐久性がある向きで印刷した。 また、持ち運びをすることも考えて軽量化した。 ほぼ完成!0 ほぼ完成したので組み立ててトイレットペーパーも設置した。 カッターの支柱がグラグラして不安定だったので、作り直した。 ローラー部分をはめる棒は印刷の際に誤差が生じたため、セロハンテープで太さを出したところピッタリだった。Add Annotation Order
テスト印刷0パーツを組み合わせる部分(丸型)を3Dプリンターで作ると誤差が生まれてうまくはまらなかった。カッター部分は切る方向で力を加えると折れそうなくらいに歪みが生じた。蓋の印刷はカーブ部分に亀裂が入っており力を入れると折れてしまった。
印刷する際の注意点①0 蓋について 最初は縦長に印刷していた。だが、カーブの部分で亀裂が入ってツリーを取り外す際に折れてしまったり、突起部分がうまく印刷されなかった。そのため、横長に向きを変え、床への接地面を広くし安定性を持たせて印刷した。また、サポートをツリーではなく標準のサポートに変更し、最初よりも厚みを持たせて印刷した。結果、カーブの部分に亀裂が入ることなく、標準のサポートをうまく取り外すことができた。
印刷する際の注意点②0カッターの支柱についてカッターを支える支柱とカッターを組み合わせるために凹凸を作成したが、プリンターで印刷する際に穴の大きさに誤差が生まれ外れやすかった。そのため、穴の大きさを微調整し、さらにカッターを落ちにくくするために支柱をL字型に変更して印刷した。
ほぼ完成!0 ほぼ完成したので組み立ててトイレットペーパーも設置した。 カッターの支柱がグラグラして不安定だったので、作り直した。 ローラー部分をはめる棒は印刷の際に誤差が生じたため、セロハンテープで太さを出したところピッタリだった。
Comments